loading

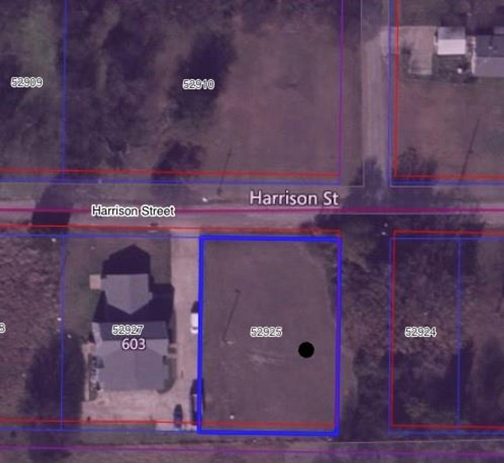
Lot 1 Harrison St

Commerce, TX 75428
Get Directions →
Just listedJust listed
0.32 Lot Acres
Land / Unimproved Land

Audio narrative

Get full access to Premium Content

Premium Content such as Sold Prices, Property History Reports and Saved Searches.

Sign in to view Premium Content

Description

Great price on this interior, residential lot located just minutes from East Texas A&M University-Commerce! Ideal for investors or anyone looking to build in this growing city. This property is convenient to shopping, dining, schools and everyday essentials. Enjoy nearby Centennial Park, downtown Commerce and easy connections to major roadways for commuting. Seller owns two additional listings in the area (see MLS 21239979 and MLS 21241601) and is open to a bundle discount. Seller financing is also available. Opportunity is knocking—bring your vision and build! Information is deemed reliable; however, buyer and buyer’s agent are responsible for verifying all information including schools, zoning, easements, and deed restrictions. Buyer will need to purchase a new survey.

MLS#
NTREIS-21240406
List Price
$26,555
Listing Status
For Sale
Address
Lot 1 Harrison St
City
Commerce
State
TX
Zip Code
75428
County
Hunt County
Subdivision
North Side Add
Legal Description
S4220 NORTH SIDE ADDITION BLK 16 LOT 1-2 ACRE
Property Type
Land / Unimproved Land
Lot Size
0.32 Lot Acres/PUBREC
LP / Acre
$82,726 / Acre
Road Frontage
CITY

Exterior

Lot Description
Interior Lot
Fencing
None
Easements
Utilities
Utility
City Sewer,City Water
Road Surface
City Street

Lot Information

Lot Size
0.32 Lot Acres /PUBREC
loading
Disclaimer: Lot configuration and dimensions are estimates, not based on personal knowledge and come from a third party (Digital Map Products); therefore, you should not rely on the estimates and perform independent confirmation as to their accuracy

Listing Broker

Information source

North Texas Real Estate Information Systems, Inc.
Source last updated Apr 16, 2026 at 01:57 PM
Listing last updated Apr 16, 2026 at 04:58 PM
View website →

Know the property tax history and market value

Cost/Sqft based on tax value

------------------------------
---------- ---------- ---------- ----------
---------- ---------- ---------- ----------
---------- ---------- ---------- ----------
---------- ---------- ---------- ----------
---------- ---------- ---------- ----------
---------- ---------- ---------- ----------

-------------

-------------
------------- -------------
------------- -------------
-------------------------- -------------
-------------------------- -------------
------------- -------------

-------------

-------------
------------- -------------
------------- -------------
------------- -------------
------------- -------------
------------- -------------

Estimate your mortgage payments

Create and estimate your monthly mortgage payment and property taxes based on past rates.

Estimated Monthly Payments

DOWN PAYMENT
Loan Term
$-----
$-----
Full Page
Presented by TimeValue Software ©2021
Principal & InterestTaxes30.4%69.6%
Listing TaxNumbers
Principal & Interest2,841
Taxes1,242
--------
-------- --------

Explore school information

Check out assigned and nearby schools along with their detailed ratings and essential information to help you make informed decisions.

Assigned schools

View nearby schools view nearby schools

Notice & Disclaimer
School information is computer generated and may not be accurate or current. Buyer must independently verify and confirm enrollment. Please contact the school district to determine the schools to which this property is zoned.
Copyright© 2026 , HOUSTON REALTORS® INFORMATION SERVICE, INC. All Rights Reserved. Data Not Verified/Guaranteed by MLS
Schedule a tour
Tomorrow
17
Apr
Sat
18
Apr
Sun
19
Apr
Mon
20
Apr
Other dates
Contact agent
Call Callback request

Schedule a Tour

Fri
17
Apr
Sat
18
Apr
Sun
19
Apr
Mon
20
Apr
Tue
21
Apr
Wed
22
Apr
Thu
23
Apr
Fri
24
Apr
Sat
25
Apr
Sun
26
Apr